宁波房天下
关注

174套!8.26宁波新房成交套数创近日新高

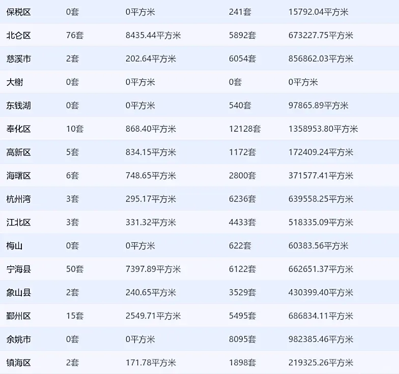
2024年8月26日(截止22:00)全市住宅网签共计174套(住宅)成交总面积:22075.80平方米。

其中市六区共成交:112套,分别为北仑区成交76套,奉化区成交10套,海曙区成交6套,江北区成交3套,鄞州区成交15套,镇海区成交2套。

目前全市可售套数为:65257套,可售面积为:7746560.66平方米。‍‍

编辑于2024-08-28 宁波

投诉
说点什么…