1/2
宁波房天下
关注

8.6宁波新房成交数据出炉!奉化区领跑

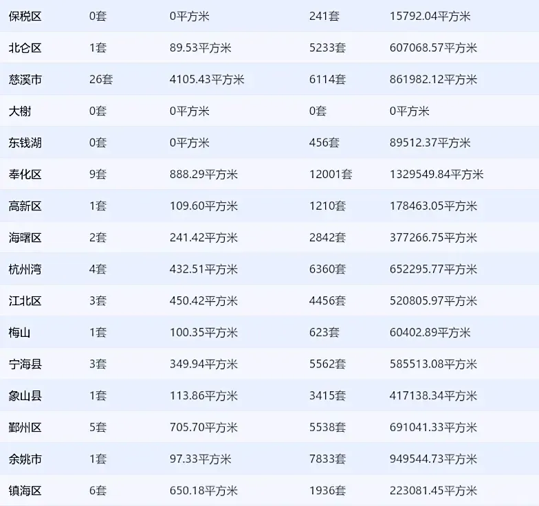
2024年8月5日(截止22:00)全市住宅网签共计63套(住宅)成交总面积:8334.56平方米,目前全市可售套数为:63820套,可售面积为:7559458.30平方米。

宁波市全市成交63套,其中市六区共成交:26套,分别为北仑区成交1套,奉化区成交9套,海曙区成交2套,江北区成交3套,鄞州区成交5套,镇海区成交6套。               

编辑于2024-08-06 宁波

投诉
说点什么…