1/2
宁波房天下
关注

7.23宁波新房成交数据出炉!

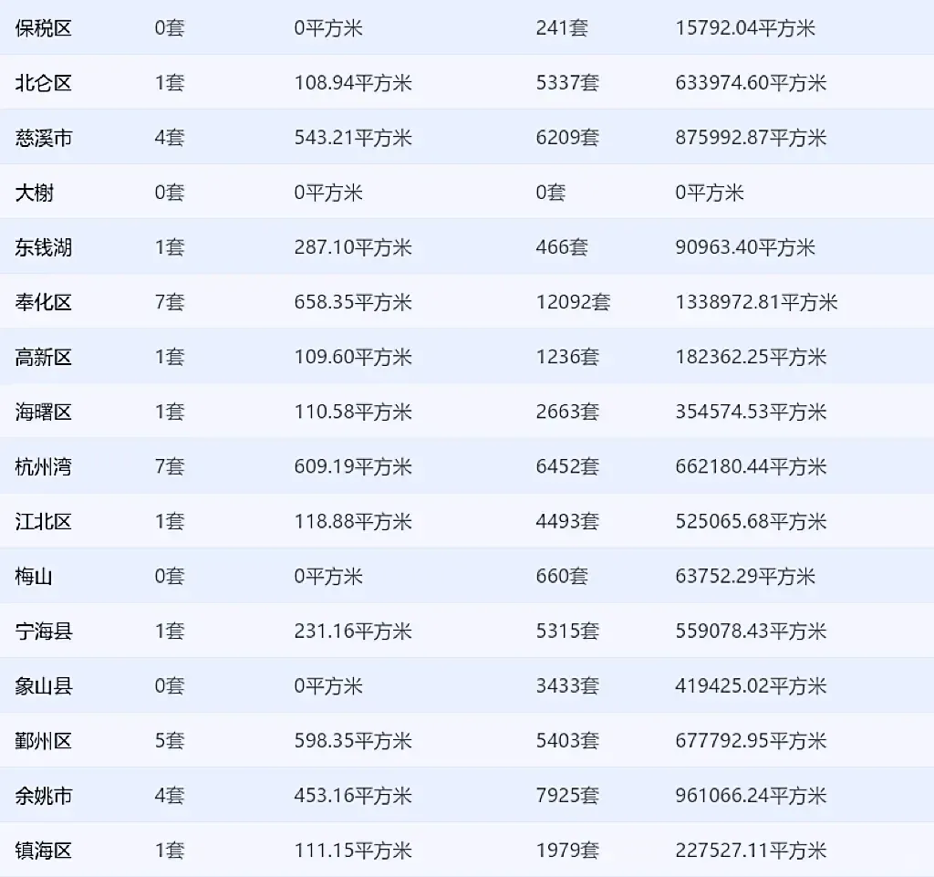
2024年7月23日(截止22:00)全市住宅网签共计34套(住宅)成交总面积:3939.67平方米,目前全市可售套数为:63904套,可售面积为:7588520.66平方米。

宁波市全市成交34套,其中市六区共成交:16套,分别为北仑区成交1套,奉化区成交7套,海曙区成交1套,江北区成交1套,鄞州区成交5套,镇海区成交1套。     

编辑于2024-07-24 宁波

投诉
说点什么…