1/5
宁波房天下
关注
6.24宁波新房网签数据出炉
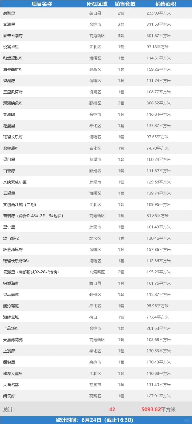
6月24日(截止16:30),宁波新房网签42套,网签面积5093.82平方米,可售套数50963套,可售面积6235804.16平方米。
编辑于2025-06-24 宁波
投诉
说点什么…
点赞
评论