1/2
宁波房天下
关注

124套!10.23宁波新房网签数据来了!

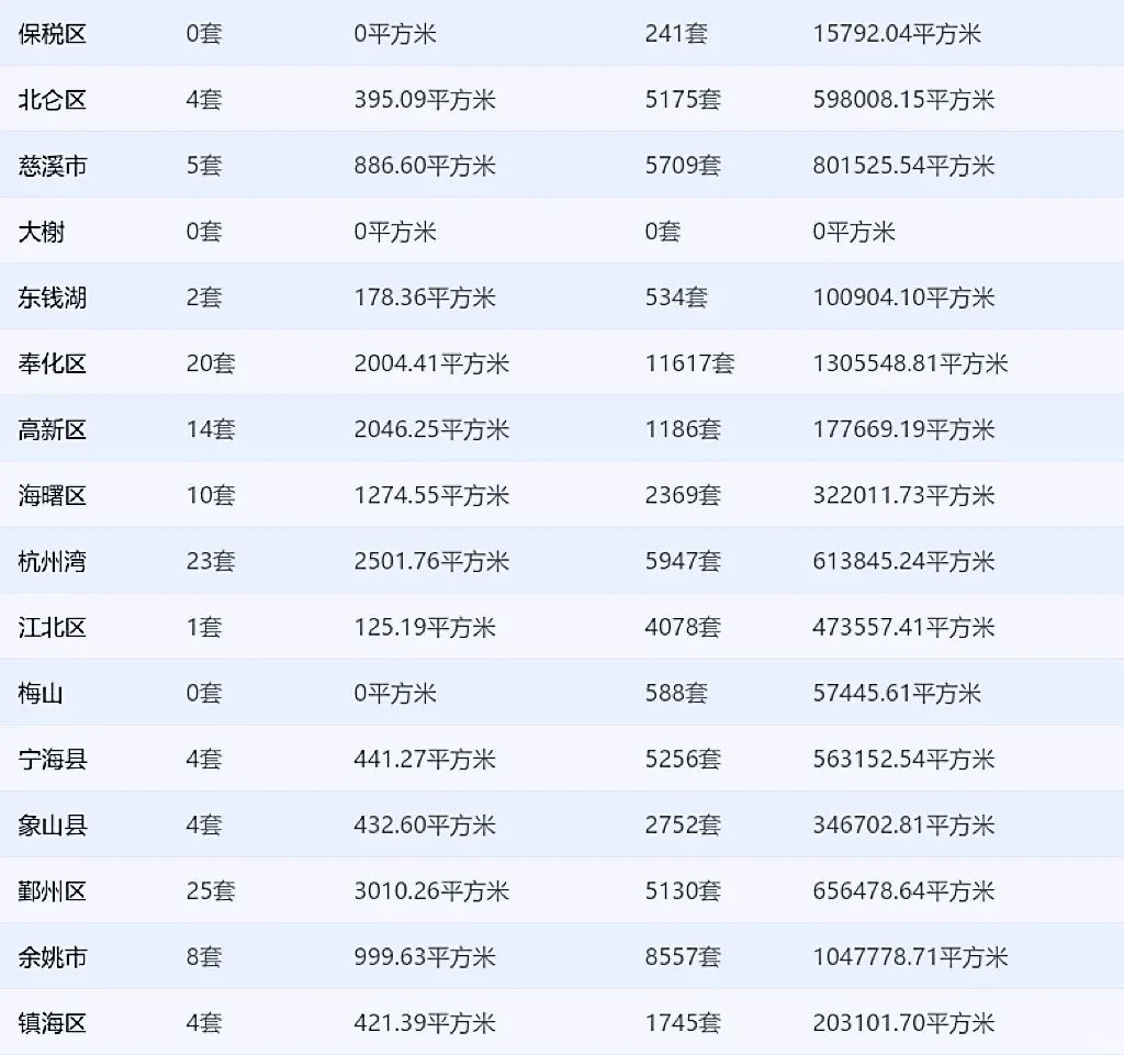
2024年10月23日(截止22:00)全市住宅网签共计124套(住宅)成交总面积:14717.36平方米。

目前全市可售套数为:60884套,可售面积为:7283522.22方米。‍‍

其中市六区共成交:64套,分别为北仑区成交4套,奉化区成交20套,海曙区成交10套,江北区成交1套,鄞州区成交25套,镇海区成交4套。

编辑于2024-10-24 宁波

投诉
说点什么…